EL10A TUTORIAL #5   Saturday, 5 April 2003

1. Find the power dissipated by the 25 ohm resistor and find i

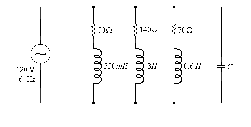
2. Find a value for C so the main current (current through the source) is in phase with the voltage

3. Find i

4. Find v